首页
关于我们
公司简介
发展历程
投资人关系
行业荣誉
全国布局
产品解决方案
汽车网联云底座
用户直连云底座
数字化运营增长
车商速赢云服务
合作伙伴
合作伙伴
商务合作
最新动态
加入我们
首页
关于我们
公司简介
发展历程
投资人关系
行业荣誉
全国布局
产品解决方案
汽车网联云底座
用户直连云底座
数字化运营增长
车商速赢云服务
合作伙伴
合作伙伴
商务合作
最新动态
加入我们
新能源国标监控与数据有效性监测分析平台
紧跟国家监管要求,,新能源车数据实时监控传输,,报警故障处理跟踪及数据有效性分析
您所在的位置:
首页
>
新能源国标监控与数据有效性监测分析平台
业务挑战
新能源汽车信息化监管要求
根据国家监管要求,,新能源车企应当建立新能源汽车产品运行安全状态监测平台,,,并与地方和国家的监测平台对接,,,配合保障新能源车的安全性。。。。
数据采集传输的技术实现
新能源车企急需技术手段,,,,实时采集和传输车辆数据,,同时还要符合监管的要求,,,,确保上传数据的真实性、、有效性。。。
数据管理和价值分析
对于获取的新能源车辆数据,,,,不能进行有效地管理,,,并在符合监管要求外,,,,挖掘数据更多价值,,实现利益最大化。。
方案优势
紧跟标准趋势,,,,符合监管要求
紧跟国家法规和标准发展趋势,,,,快速满足车企监控和国家监管法规的要求。。同时具备支持强制性的新能源车过检认证能力。。。。
大屏监控展示,,,数据实时追踪
提供业务应用大屏监控,,,,实时监控单车在转发过程中全链路的数据流转情况;对数据接收转发按月进行统计,,,,直观展示全局转发国标、、、地标平台的数据,,,,历史数据可查询。。。。
数据赋能,,,,提升全业务部门服务
将平台数据进行抽取汇总、、、统计展示,,,并进行数据分析挖掘、、、、价值提取、、信息提炼,,,,为销售策略、、市场布局、、、服务管控、、库存优化等业务提供数据支撑。。。
亮点功能
实时状态监控,,车辆状态查询
1)可实时查看车辆运行监测数据,,整车数据,,,报警数据等
2)可指定条件查询车辆状态信息,,并提供历史信息展示功能
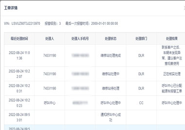
故障报警处理跟踪,,外部工单系统对接
1)根据车辆上传报文分析报文中的报警信号,,实时生成报警数据,,,,并根据业务定义生成报警工单
2)与外部工单系统进行接口对接并进行工单的推送
3)工单系统根据报警等级进行相应处理并回传处理结果
数据核查,,,报文合规检测
1)提供车辆上传报文数据项的合规性校验,,直观展示报文合格率
2)根据报文分析提前发现问题,,企业可以提前进行问题的排查及修复,,,提高车辆报文数据质量
联系我们:
021-50360266
关于我们
公司简介
发展历程
投资人关系
行业荣誉
全国布局
产品解决方案
汽车网联云底座
用户直连云底座
数字化运营增长
车商速赢云服务
合作伙伴
合作伙伴
商务合作
关注我们
总部地址:
上海市浦东新区东方路1267弄8号陆家嘴金融服务广场二期1503室
成都分公司:
成都市高新区天华二路天府软件园C区11号楼16层
公司邮箱:
contact@nyruibo.com
媒体合作邮箱:
marketing@nyruibo.com
沪ICP备18021940号-1
版权所有 上海尊龙时凯智能科技有限公司
友情链接
站点地图